My Garage
Cart

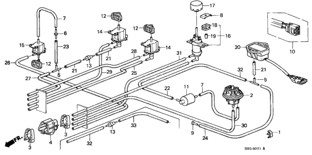
Air Cleaner Vacuum Tubing (PGM-FI) fit your 1989 Honda Accord 4 Door SEI KA 4AT

Currently shopping for
1989 Honda Accord
Change Vehicle
Vehicle Options
4 Door SEI; KA 4AT
Vehicle Options
4 Door SEI; KA 4AT
Diagram (1 of 1): Air Cleaner Vacuum Tubing (PGM-FI)
1989 Honda Accord 4 Door SEI KA 4AT Air Cleaner Vacuum Tubing (PGM-FI) Diagram
Enlarge Diagram
Sort by:
Ref No.
Ref No.
Part No. & Part Description
Price & Qty.
Part No. &
Part Description
Genuine Honda Parts, the Right Choice
HondaPartsNow.com offers the wholesale prices for genuine 1989 Honda Accord parts. Parts like Air Cleaner Vacuum Tubing (PGM-FI) are shipped directly from authorized Honda dealers and backed by the manufacturer's warranty. Parts fit for the following vehicle options. Body & Trim: 4 Door SEI. Emission & Transmission: KA 4AT.