My Garage
Cart

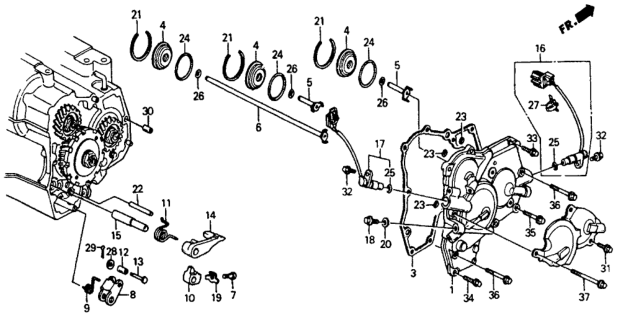
AT Right Side Cover fit your 1993 Honda Accord 4 Door DX KA 4AT

Currently shopping for
1993 Honda Accord
Change Vehicle
Vehicle Options
4 Door DX; KA 4AT
Vehicle Options
4 Door DX; KA 4AT
Categories Close X

Currently selected

Other Categories

Body / Air Conditioning
Chassis
Electrical / Exhaust / Heater / Fuel
Engine
Interior / Bumper
Accessories
Categories Close X

Currently selected

Other Categories

Body / Air Conditioning
Chassis
Electrical / Exhaust / Heater / Fuel
Engine
Interior / Bumper
Accessories
Diagram (1 of 1): AT Right Side Cover
1993 Honda Accord 4 Door DX KA 4AT AT Right Side Cover Diagram
Enlarge Diagram
Sort by:
Ref No.
Ref No.
Part No. & Part Description
Price & Qty.
Part No. &
Part Description
Genuine Honda Parts, the Right Choice
HondaPartsNow.com offers the wholesale prices for genuine 1993 Honda Accord parts. Parts like AT Right Side Cover are shipped directly from authorized Honda dealers and backed by the manufacturer's warranty. Parts fit for the following vehicle options. Body & Trim: 4 Door DX. Emission & Transmission: KA 4AT.