My Garage
Cart

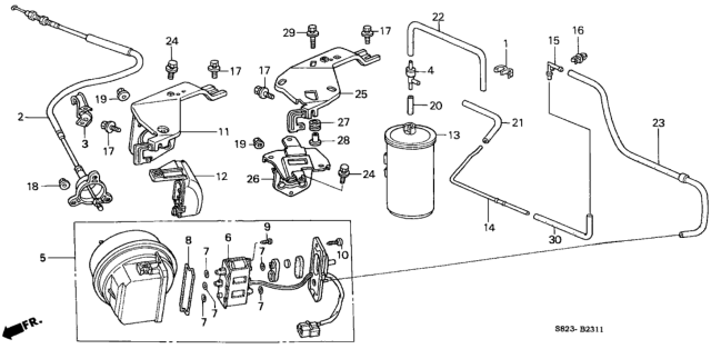
Auto Cruise fit your 2002 Honda Accord 2 Door LX (SIDE SRS) KA 4AT

Currently shopping for
2002 Honda Accord
Change Vehicle
Vehicle Options
2 Door LX (SIDE SRS); KA 4AT
Vehicle Options
2 Door LX (SIDE SRS); KA 4AT
Diagram (1 of 1): Auto Cruise
2002 Honda Accord 2 Door LX (SIDE SRS) KA 4AT Auto Cruise Diagram
Enlarge Diagram
Sort by:
Ref No.
Ref No.
Part No. & Part Description
Price & Qty.
Part No. &
Part Description
Genuine Honda Parts, the Right Choice
HondaPartsNow.com offers the wholesale prices for genuine 2002 Honda Accord parts. Parts like Auto Cruise are shipped directly from authorized Honda dealers and backed by the manufacturer's warranty. Parts fit for the following vehicle options. Body & Trim: 2 Door LX (SIDE SRS). Emission & Transmission: KA 4AT.