My Garage
Cart

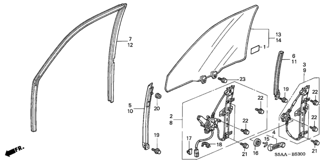
Front Door Windows - Door Regulator fit your 2004 Honda Civic 4 Door EX KA 5MT

Diagram (1 of 1): Front Door Windows - Door Regulator
2004 Honda Civic 4 Door EX KA 5MT Front Door Windows - Door Regulator Diagram
Enlarge Diagram
Sort by:
Ref No.
Ref No.
Part No. & Part Description
Price & Qty.
Part No. &
Part Description
Genuine Honda Parts, the Right Choice
HondaPartsNow.com offers the wholesale prices for genuine 2004 Honda Civic parts. Parts like Front Door Windows - Door Regulator are shipped directly from authorized Honda dealers and backed by the manufacturer's warranty. Parts fit for the following vehicle options. Body & Trim: 4 Door EX. Emission & Transmission: KA 5MT.