My Garage
Cart

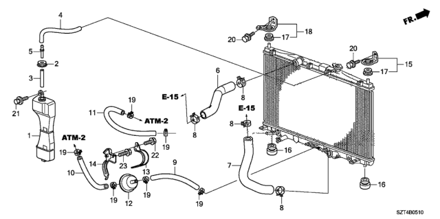
Radiator Hose - Reserve Tank fit your 2011 Honda CR-Z 3 Door EX (NV) KA 6MT

Currently shopping for
2011 Honda CR-Z
Change Vehicle
Vehicle Options
3 Door EX (NV); KA 6MT
Vehicle Options
3 Door EX (NV); KA 6MT
Diagram (1 of 1): Radiator Hose - Reserve Tank
2011 Honda CR-Z 3 Door EX (NV) KA 6MT Radiator Hose - Reserve Tank Diagram
Enlarge Diagram
Sort by:
Ref No.
Ref No.
Part No. & Part Description
Price & Qty.
Part No. &
Part Description
Genuine Honda Parts, the Right Choice
HondaPartsNow.com offers the wholesale prices for genuine 2011 Honda CR-Z parts. Parts like Radiator Hose - Reserve Tank are shipped directly from authorized Honda dealers and backed by the manufacturer's warranty. Parts fit for the following vehicle options. Body & Trim: 3 Door EX (NV). Emission & Transmission: KA 6MT.