My Garage
Cart

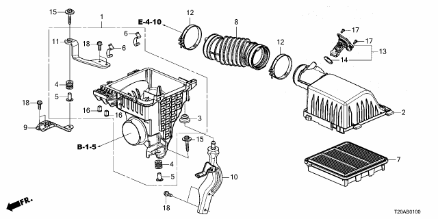
Air Cleaner fit your 2026 Honda Civic 4 Door Si FWD 6MT

Currently shopping for
2026 Honda Civic
Change Vehicle
Vehicle Options
4 Door Si FWD; 6MT
Vehicle Options
4 Door Si FWD; 6MT
Diagram (1 of 1): Air Cleaner (1.5L)
2026 Honda Civic 4 Door Si FWD 6MT Air Cleaner Diagram
Enlarge Diagram
Sort by:
Ref No.
Ref No.
Part No. & Part Description
Price & Qty.
Part No. &
Part Description
Genuine Honda Parts, the Right Choice
HondaPartsNow.com offers the wholesale prices for genuine 2026 Honda Civic parts. Parts like Air Cleaner are shipped directly from authorized Honda dealers and backed by the manufacturer's warranty. Parts fit for the following vehicle options. Body & Trim: 4 Door Si FWD. Emission & Transmission: 6MT.