My Garage
Cart

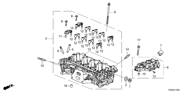
Cylinder Head fit your 2026 Honda Civic 4 Door Si FWD 6MT

Diagram (1 of 1): Cylinder Head (1.5L)
2026 Honda Civic 4 Door Si FWD 6MT Cylinder Head Diagram
Enlarge Diagram
Sort by:
Ref No.
Ref No.
Part No. & Part Description
Price & Qty.
Part No. &
Part Description
Genuine Honda Parts, the Right Choice
HondaPartsNow.com offers the wholesale prices for genuine 2026 Honda Civic parts. Parts like Cylinder Head are shipped directly from authorized Honda dealers and backed by the manufacturer's warranty. Parts fit for the following vehicle options. Body & Trim: 4 Door Si FWD. Emission & Transmission: 6MT.