My Garage
Cart

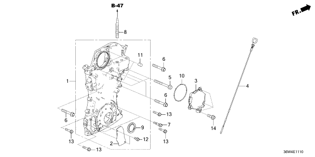
Chain Case fit your 2026 Honda Prelude 2 Door Hybrid Direct Drive Unit CVT

Currently shopping for
2026 Honda Prelude
Change Vehicle
Vehicle Options
2 Door Hybrid Direct Drive Unit; CVT
Vehicle Options
2 Door Hybrid Direct Drive Unit; CVT
Diagram (1 of 1): Chain Case
2026 Honda Prelude 2 Door Hybrid Direct Drive Unit CVT Chain Case Diagram
Enlarge Diagram
Sort by:
Ref No.
Ref No.
Part No. & Part Description
Price & Qty.
Part No. &
Part Description
Genuine Honda Parts, the Right Choice
HondaPartsNow.com offers the wholesale prices for genuine 2026 Honda Prelude parts. Parts like Chain Case are shipped directly from authorized Honda dealers and backed by the manufacturer's warranty. Parts fit for the following vehicle options. Body & Trim: 2 Door Hybrid Direct Drive Unit. Emission & Transmission: CVT.